發布時間:2014-08-07 新聞來源:http://m.baovp.cn/ 瀏覽次數:117 責任編輯:艾培爾編輯

型號: PLC型
艾培爾PLC型多功能模鍛翻轉吊鉗產品特點:
1.設計用于鋼板和鋼結構的運輸
2.鉸鏈式起重眼設計滿足負載起吊及各種吊裝方向放置在所有的方向
3.移動式鍛打吊眼具有180度的靈活性
4.較寬的咬嘴適合不同厚度的鋼板
5.置配置雙安全鎖,防止負荷時意外脫落
6.落鍛的零件和夾齒具有高強度和高耐磨性
7.獨立的編碼、吊裝載荷量、ABLE、 WLL等浮雕圖案
安全系數:6:1
標準:歐洲標準 EN13155
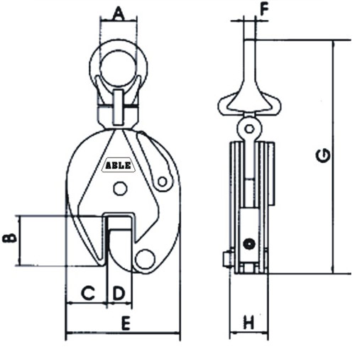
艾培爾PLC型多功能模鍛翻轉吊鉗結構圖:

艾培爾PLC型多功能模鍛翻轉吊鉗參數:
