發布時間:2014-08-07 新聞來源:http://m.baovp.cn/ 瀏覽次數:111 責任編輯:艾培爾編輯

安全型手拉單軌小車
型號: GT-1型
產品特點:
1.專為平整及小型的不規則的型材表面運動吊裝而設計
2.容易安裝和操作
3.帶有防落板的手動鏈操作
4.高質量的密封滾珠軸承組成的雙軌道鋼輪
5.軋鋼側板和通用掛眼
6.粉末涂裝的機身和鐵輪擁有良好防腐作用
7.獨立的代碼、吊裝載荷量、ABLE、WLL等浮雕圖案
8.標準:歐洲標準 EN13157
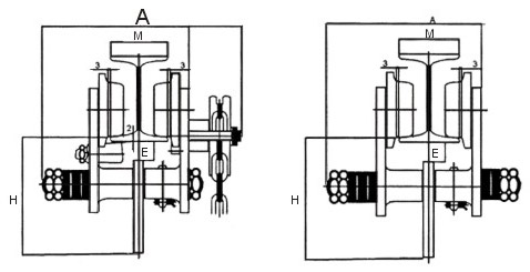
艾培爾GT-1型安全型手拉單軌小車結構圖:

艾培爾GT-1型安全型手拉單軌小車參數:


